
Pictured Above: Rider giving a “thumbs-up” on the Cloud Coaster at Mega Parc Theme Park.
United States Patent and Trademark Office grants patent of roller coaster.
Athens, TX (May, 2021)

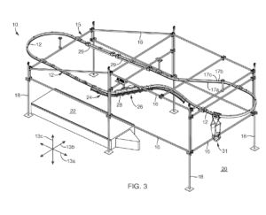
Pictured Above: Patent drawing of Cloud Coaster roller coaster.
Extreme Engineering is excited to announce their latest awarded U.S. patent on the Cloud Coaster family coaster. The coaster and trolley system were issued US patent number 10,835,834. The patent includes many claims on the family coaster’s design. “I’m thrilled about our latest patent,” states Phil Wilson, Executive Vice President with Extreme Engineering. “This further enhances Extreme Engineering’s IP portfolio. It feels fantastic that our company gained another U.S. patent. The innovation and hard work are what made it possible.”

Pictured Above: 3D body file of the Cloud Coaster’s ride vehicle and also patent illustration of the trolley.
The abstract of the patent states, “A rail coaster operates as a cross between a roller coaster and a zip line. A rail may be suspended under a frame by flexible cables or solid brackets. The rail may tum, incline, decline, or twist, but need not twist to still provide a ‘rolling’ degree of freedom for a rider. An eddy current brake provides proportional braking as a function of speed.” These claims protect Extreme Engineering’s Cloud Coaster features and breakthrough designs.

Pictured Above: Recent Cloud Coaster projects from Vietnam, Canada to Qatar.
“This really sets us far from the competition, always inventing forward and protecting our ideas,” states Wilson. Extreme Engineering’s first U.S. patent was on the mobile climbing wall and auto-belay, which at the time was patent number 6,390,952. “So many ideas have been awarded by the U.S. patent office. It’s cool to know we are in good company, from inventors as early as Ben Franklin to Elon Musk. Patents are an amazing achievement.”
About Extreme Engineering
With over 26 years in experience, Extreme Engineering has been globally recognized as the primary supplier in family coasters, engineering design and adventure rides.
For more information on Extreme Engineering’s Cloud Coaster: CLICK HERE